放料阀
产品概况
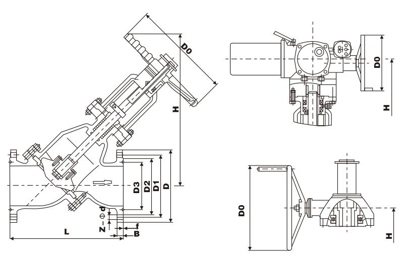
结构特点
放料阀是一种耐磨、耐压、耐冲刷,结构简单而且可以防止结疤的阀门,能够满足输送含颗粒状和粘稠介质等恶劣工况条件的要求,阀门流通浆液阻力较小、密封不易泄漏,因此在在氧化铝、化肥、采矿、冶金、等行业具有广泛的应用,本文结合氧化铝生产中的常用的几种Y型料浆阀详细介绍了Y性料浆阀的特点和应用情况。
执行标准
设计规范:GB/T12235、ASME B16.34
结构长度:GB/T12221
连接法兰:GB/T9113.1、HG/T20592、HG/T20615、ASME B16.5
试验与检验:GB/T9092、API 598
性能参数
公称通径:DN50~350mm
公称压力:PN2~10MPa
适用温度:≤425℃
适用介质:碱性氧化铝料浆、矿浆、粉煤灰等
驱动方式:手动、齿轮传动、电动
|
DN(mm) |
NPS(in) |
驱动方式 |
L |
D |
D1 |
D2 |
B |
Z-Φ |
f |
Do |
H |
驱动装置 |
|
JS45Y |
||||||||||||
|
50 |
2 |
手动 |
230 |
150 |
120.5 |
92 |
16 |
4-18 |
2 |
250 |
307 |
- |
|
80 |
3 |
310 |
190 |
152.5 |
127 |
19.5 |
4-18 |
2 |
250 |
386 |
- |
|
|
100 |
4 |
350 |
230 |
190.5 |
157.5 |
24 |
8-18 |
2 |
250 |
448 |
- |
|
|
125 |
5 |
400 |
255 |
216 |
186 |
24 |
8-22 |
2 |
320 |
519 |
- |
|
|
150 |
6 |
480 |
280 |
241.5 |
216 |
25.5 |
8-22 |
2 |
360 |
600 |
- |
|
|
200 |
8 |
齿动 |
600 |
345 |
298.5 |
270 |
29 |
8-22 |
2 |
450 |
795 |
BA-1 |
|
250 |
10 |
730 |
405 |
362 |
324 |
30.5 |
12-26 |
2 |
600 |
880 |
BA-1 |
|
|
300 |
12 |
850 |
485 |
432 |
381 |
32 |
12-26 |
2 |
600 |
935 |
BA-1 |
|
|
350 |
14 |
980 |
535 |
476 |
413 |
35 |
12-30 |
2 |
600 |
1088 |
BA-2 |
|
|
200 |
8 |
电动 |
600 |
345 |
298.5 |
270 |
29 |
8-22 |
2 |
305 |
995 |
SMC-00 |
|
250 |
10 |
730 |
405 |
362 |
324 |
30.5 |
12-26 |
2 |
305 |
1045 |
SMC-00 |
|
|
300 |
12 |
850 |
485 |
432 |
381 |
32 |
12-26 |
2 |
305 |
1105 |
SMC-0 |
|
|
350 |
14 |
980 |
535 |
476 |
413 |
35 |
12-30 |
2 |
305 |
1250 |
SMC-0 |
|





