结构特点
阀座采用压笼式结构, 具有可靠性能强, 后期更换维修方便等特点,解决了传统的无阀座结构泄露无法更换的困难,延长了使用寿命。采用流开式设计,介质趋向于阀门开启的放向,小开度可控性好,流量特性畸变小。根据工况可选配电动或气动执行器进行控制。
质量保证:ISO9000
性能参数
公称通径:DN15~300mm;NPS 1/2"~12"
公称压力:PN1.6~6.4MPa;CLASS 150~300LB
适用温度:-196~+550℃(按工矿可选)
连接形式:法兰、焊接、螺纹
主要材质:碳钢
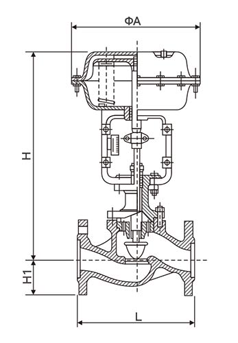
产品尺寸
|
DN In |
20 3/4 |
25 1 |
32 1-1/4 |
40 1-1/2 |
50 2 |
65 2-1/2 |
80 3 |
100 4 |
125 5 |
150 6 |
200 8 |
250 10 |
300 12 |
|
|
L |
PN16/25 |
181 |
184 |
200 |
222 |
254 |
276 |
298 |
352 |
410 |
451 |
600 |
650 |
700 |
|
PN40 |
181 |
184 |
200 |
222 |
254 |
276 |
298 |
352 |
410 |
451 |
600 |
670 |
770 |
|
|
PN64 |
210 |
210 |
210 |
251 |
286 |
311 |
337 |
394 |
440 |
508 |
650 |
690 |
800 |
|
|
H |
PN16/25 |
52.5 |
57.5 |
75 |
75 |
85.5 |
92.5 |
100 |
110 |
142.5 |
158 |
170 |
195 |
230 |
|
PN40 |
52.5 |
57.5 |
75 |
75 |
82.5 |
92.5 |
100 |
117.5 |
150 |
167.5 |
187.5 |
205 |
245 |
|
|
PN64 |
65 |
40 |
85 |
85 |
90 |
102.5 |
107.5 |
125 |
172.5 |
195 |
207.5 |
230 |
260 |
|
|
H1 |
132 |
132 |
158 |
170 |
179 |
214 |
221 |
234 |
270 |
294 |
331 |
390 |
450 |
|
|
H2 |
285 |
285 |
285 |
285 |
285 |
360 |
360 |
360 |
470 |
470 |
470 |
580 |
580 |
|
|
H3 |
208 |
208 |
224 |
228 |
228 |
334 |
334 |
342 |
408 |
453 |
482 |
520 |
550 |
|
|
H4 |
153 |
153 |
153 |
153 |
153 |
181 |
181 |
181 |
247 |
247 |
247 |
/ |
/ |
|
|
H5 |
336 |
338 |
402 |
402 |
405 |
627 |
628 |
635 |
698 |
702 |
728 |
755 |
790 |
|
|
H6 |
|
700(根据实际温度定制) |
||||||||||||
|
H7 |
88 |
88 |
88 |
88 |
88 |
95 |
95 |
95 |
95 |
110 |
110 |
140 |
140 |
|
|
D |
310 |
310 |
355 |
355 |
390 |
430 |
465 |
520 |
585 |
660 |
770 |
890 |
950 |
|
|
A |
200 |
200 |
200 |
200 |
200 |
240 |
240 |
240 |
350 |
350 |
350 |
450 |
450 |
|
|
C |
282 |
282 |
282 |
282 |
282 |
360 |
360 |
360 |
470 |
470 |
470 |
650 |
650 |
|
|
法兰 |
可执⾏:GB 、HG、JB、DIN、JIS、ANSI 等相应标准 |
|||||||||||||





